内存虚拟化¶
内存虚拟化本质上是需要达成以下两个目的:
- 提供一个在 Guest 感知中的从零开始的连续物理内存空间。
- 在各个 VM 之间进行有效的隔离、调度、共享内存资源。
纯软件实现内存虚拟化¶
虚拟机内存访问原理及遇到的问题¶
为了实现内存空间的隔离,Hypervisor 需要为 Guest VM 准备一层新的地址空间:Guest Physical Address Space,从 Guest 侧其只能看到这一层地址空间,Hypervisor 需要记录从 GPA 到 HVA 之间的转换关系。
下图为 Qemu 的内存架构:
Guest' processes
+--------------------+
Virtual addr space | |
+--------------------+ (GVA)
| |
\__ Page Table \__
\ \
| | Guest kernel
+----+--------------------+----------------+
Guest's phy memory | | | | (GPA)
+----+--------------------+----------------+
| |
\__ \__
\ \
| QEMU process |
+----+------------------------------------------+
Virtual addr space | | | (HVA)
+----+------------------------------------------+
| |
\__ Page Table \__
\ \
| |
+----+-----------------------------------------------+----+
Physical memory | | | | (HPA)
+----+-----------------------------------------------+----+
当我们要访问 Guest 中某个虚拟地址上的数据时,我们需要:
- 首先得先通过 Guest 的页表将
Guest Virtual Address(GVA)转换为Guest Physical Address(GPA)。 - GPA 在 Qemu 的实现当中实际上是对应映射到 Host 中一大块 mmap 的内存上的,所以我们还需要将 GPA 再转换为
Host Virtual Address(HVA)。 - 最后再通过 Host 上的页表将 HVA 转化为
Host Physical Address(HPA)。 - 在 Guest 多级页表的寻址当中同样也要多次经过
GPA->HPA的转换查询过程。
这一整套流程非常繁重,从而使得虚拟机中内存访问的性能极为低下。
在 QEMU 当中访问内存的核心函数是
address_space_rw(),实现了GPA->HVA,感兴趣的同学可以看一下其内部实现。
影子页表 (shadow page table)¶
在早期的时候 Intel 硬件对虚拟化并没有很好的支持,因此 Hypervisor 只能先在软件层面进行优化——影子页表(Shadow Page Table)应运而生。
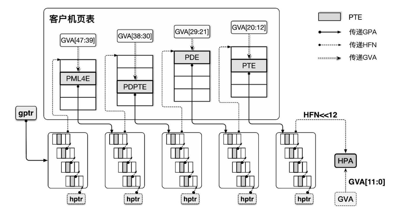
以 Intel 为例,由于读写 CR3 寄存器(存放页顶级表指针)的操作是敏感指令,我们的 Hypervisor 可以很轻易地截获 VM 的这个操作,并将页表替换为存放 GVA→HPA 映射关系的影子页表,这样就能直接完成由 GVA 到 HPA 的转换过程。

为了实现影子页表,我们本质上需要实现MMU 虚拟化:
- Guest VM 所能看到与操作的实际都上是虚拟的 MMU,真正载入 MMU 的页表是由 Hypevisor 完成翻译后所产生的影子页表。
- 影子页表中的访问权限为只读的,当 Guest 想要读写页表时便能被 Hypervisor 捕获到这个操作并代为处理。
不过这种方法的缺点就是我们需要为 Guest VM 中的每套页表都独立维护一份影子页表,且需要多次在 VMM 与 VM 间进行切换,这有着不小的开销。
硬件辅助虚拟化¶
扩展页表(Extend Page Table, EPT)¶
从软件层面似乎已经是难以有更好的优化的方案了,因此硬件层面的对内存虚拟化的支持便应运而生——EPT 即 Extend Page Table,是 Intel 为实现内存虚拟化而新增的特性,目的是为了减少内存访问的开销。
EPT 并不干扰 Guest VM 操作自身页表的过程,其本质上是额外提供了一个 Guest 物理地址空间到 Host 物理地址空间转换的页表,即使用一个额外的页表来完成 GPA→HPA 的转换。
EPT 方案虽然相比起影子页表而言多了一层转换,但是并不需要干扰 Guest 原有的页表管理,GVA→GPA→HPA 的过程都由硬件自动完成,同时 Hypervisor 仅需要截获 EPT Violation 异常(EPT 表项为空),效率提高了不少。

VPID:TLB 资源优化¶
Translation Lookaside Buffer为用以加快虚拟地址到物理地址转换的页表项缓存,当进行地址转换时 CPU 首先会先查询 TLB,TLB 根据虚拟地址查找是否存在对应的 cache,若 cache miss 了才会查询页表。
由于 TLB 是与对应的页表进行工作的,因此在切换页表时 TLB 原有的内容就失效了,此时我们应当使用 INVLPG 使 TLB 失效,类似地,在 VM-Entry 与 VM-Exit 时 CPU 都会强制让 TLB 失效,但这么做仍存在一定的性能损耗。
Virtual Processor Identifier(VPID)则是一种硬件级的对 TLB 资源管理的优化,其在硬件上为每个 TLB 表项打上一个 VPID 标识(VMM 为每个 vCPU 分配一个唯一的 VPID,存放在 VMCS 中,逻辑 CPU 的 VPID 为 0),在 CPU 查找 TLB cache 时会先比对 VPID,这样我们就无需在每次进行 VM entry/exit 时刷掉所有的 cache,而可以继续复用之前保留的 cache。
REFERENCE¶
《系统虚拟化:原理与实现》——Intel 开源软件技术中心 著
《深度探索 Linux 系统虚拟化》——王柏生、谢广军 著